Ausführung der Dynamometer
Die Ringkraftmesser bestehen aus einem speziell geformten, elastischen Stahlring mit zwei gegenüberliegenden Kraftaufnahmen (Zugösen, Gewindebolzen bzw. Druckstücken). Belastungen ergeben eine Verformung des Rings, die über eine Messuhr angezeigt wird.
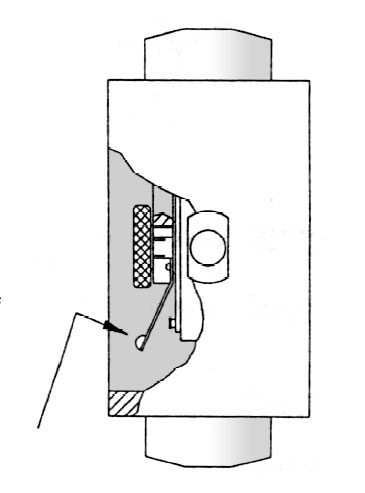
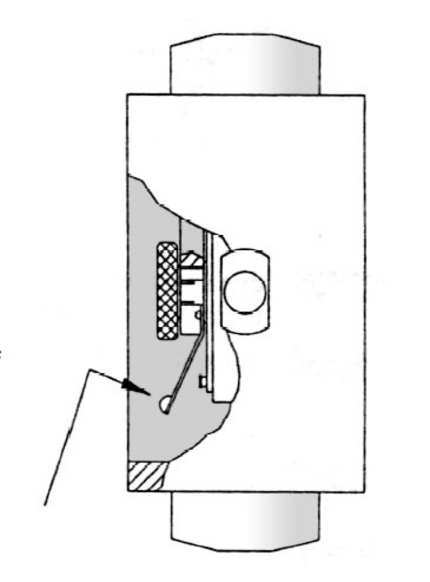
Hebel für Maximalanzeige
Analoge Messwert- und Maximalanzeige
Die Verformung wird über eine Kalibrierung in Zug- oder Druckkräfte umgerechnet.
Die analoge, mehrfache 100er-Messuhr zeigt die Durchmesser-veränderung des Rings mit 5 µm pro Skalenteil an. Der Ring verformt sich bei Maximallast ca. 2,0 mm. Der Messfehler liegt für die oberen 80% des Messbereichs unter 1%. Alternativ kann die Messuhr mit einen gezeichneten Skala zur Direktablesung ausgestattet werden.
Bei Tiedemann Ringkraftmessern kann die Messuhr so eingestellt werden, dass sie die Maximalkraft in einem Messvorgang anzeigt. Dies ist beispielsweise wichtig bei schnellen Vorgängen und bei Versuchen, bei denen während der Messung nicht abgelesen werden kann, beispielsweise bei Bestimmung des Schleppwiderstandes von Segelflugzeugen, Booten oder Anhängern.
Ringkraftmesser mit gezeichneter Skala
Analoger Ringkraftmesser mit direkter Kraftablesung
Alternativ bieten wir für analoge Uhren die Darstellung mit gezeichneter Skala zu direkten Kraftablesung an. Während die Option mit Kalibriertabelle aufgrund des größeren Messbereichs eher im Laborbereich eingesetzt wird, findet die Uhr mit gezeichneter Skala vor allem in der schnellen Qualitätskontrolle (ohne Rechenschritte) oder bei Baustelleneinsätzen Ihr Einsatzgebiet.
Dynamometer mit direkter Kraftablesung werden zunächst nach dem gleichen Verfahren kalibriert. Danach wird die Standard-Kalibrierskala durch eine Skala mit Kraftwerten für eine Zeigerumdrehung ersetzt. Dadurch können Ringkraftmesser für z.B. 0-60 N oder 60-120 N (ZS02) entstehen.
Bei den digitalen Messuhren wird die Kalibrierkurve in der Uhr nicht löschbar gespeichert. Die Messwerte können im Display direkt abgelesen werden.
Digitale Messuhr
Messwertanzeige der digitalen Messuhr
Die digitale Messuhr hat bis zu drei Dezimalstellen (1 µm) und wird von uns bei der Kalibrierung so programmiert, dass sie direkt den Kraftwert in N oder kN anzeigt. Kleinster ablesbarer Wert ist somit 0,1 N bzw. 1 N. Die max. Messbereiche der digitalen Version reichen von 200 N bis 100 kN.
Zugkräfte werden mit einem „+“ Zeichen versehen, Druckkräfte mit einem „–“. Bei Verwendung des Universal-Ringkraftmessers mit Zugösen und Druckstücken kann die Uhr je nach Kraftrichtung von „Zug“ auf „Druck“ umgestellt werden. Eine Tara-Einstellung stellt die Uhr auf „0“. Sie kann immer durch Drücken der Tara-Taste erzielt werden, es gilt jedoch die Maximalbelastung des Rings zu beachten.
Datenübertragung der Messdaten
Neben dem Vorteil einer direkten Ablesung des Messwertes können diese auch auf einem Computer übertragen werden. Dazu wird der Batteriekasten der Messuhr (Haltbarkeit der Batterie ca. 4000 Std.) gegen einen Adapter mit USB oder RS232 Schnittstelle ausgetauscht. Die Stromversorgung erhält die Uhr über den Computer.
Zum Lieferumfang gehört daher auch das Tiedemann-Capture-Programm zum Übertrag der Messdaten in WIN-Excel und die Treiberdaten der Uhr. Alternativ kann zum Auslesen der Messwerte aber auch jedes handelsübliche Messprogramm verwendet werden
Sollten Sie den Wunsch haben mehrere Uhren gleichzeitig zu nutzen, können diese über einen HUB angeschlossen werden. Alternativ steht auch eine Funkverbindung zwischen Uhr und Computer zur Auswahl. Die Techniken werden von externen Partnern angeboten.
Ringkraftmesser mit Gummischutzhülle
Sonderbauformen und Schutzhüllen
Für die meisten Messanwendungen findet Tiedemann die richtige Lösung: Beispielsweise eine schützende Gummihülle, drehbare Zugösen oder auch Dynamometer mit geänderten Druckstücken.
